激光雷达,马斯克看不上,却又无可替代?

【导读】最近Velodyne挑起的激光雷达LiDAR专利之战成为了业界热点。可以说在严苛的自动驾驶系统中激光雷达成为一种不可替代的传感器。今天让我们详细聊聊激光雷达LIDAR是怎么回事。
什么是激光雷达LIDAR
激光雷达LiDAR的全称为Light Detection and Ranging激光探测和测距,又称光学雷达。
激光雷达的工作原理:对人畜无害的红外光束Light Pluses发射、反射和接收来探测物体。能探测的对象:白天或黑夜下的特定物体与车之间的距离。甚至由于反射度的不同,车道线和路面也是可以区分开来的。哪些物体无法探测:光束无法探测到被遮挡的物体。

↑激光雷达LiDAR示意图
车用激光雷达工作原理就是蝙蝠测距用的回波时间(Time of Flight,缩写为TOF)测量方法。但要知道光速是每秒30万公里。要区分目标厘米级别的精确距离,那对传输时间测量分辨率必须做到1纳秒。要如此精确的测量时间,因此对应的测量系统的成本就很难降到很低,需要使用巧妙的方法降低测量难度。
是不是觉得很高深难懂?我们直接看动画吧。

↑激光雷达LiDAR工作原理
通过旋转的机械镜面测量激光发出和收到回波的时间差,从而确定目标的方位和距离。由于激光雷达主动发射激光,因此受环境光变化的影响小,测距精确。
什么是激光雷达LIDAR的技术关键

↑典型激光雷达LiDAR系统组成
典型激光雷达LiDAR系统组成括激光发射光源、接收器、伺服电机、斜面镜和光学旋转编码器(又称圆光栅)。

↑激光雷达LiDAR关键部件
激光雷达LiDAR关键部件按照信号处理的信号链包括控制硬件DSP(数字信号处理器)、激光驱动、激光发射发光二极管、发射光学镜头、接收光学镜头、APD(雪崩光学二极管)、TIA(可变跨导放大器)和探测器。其中除了发射和接收光学镜头外,都是电子部件。随着半导体技术的快速演进,性能逐步提升的同时成本迅速降低。但是光学组件和旋转机械则占具了激光雷达的大部分成本。
激光雷达LIDAR的应用挑战
a. 绕不开的基础专利

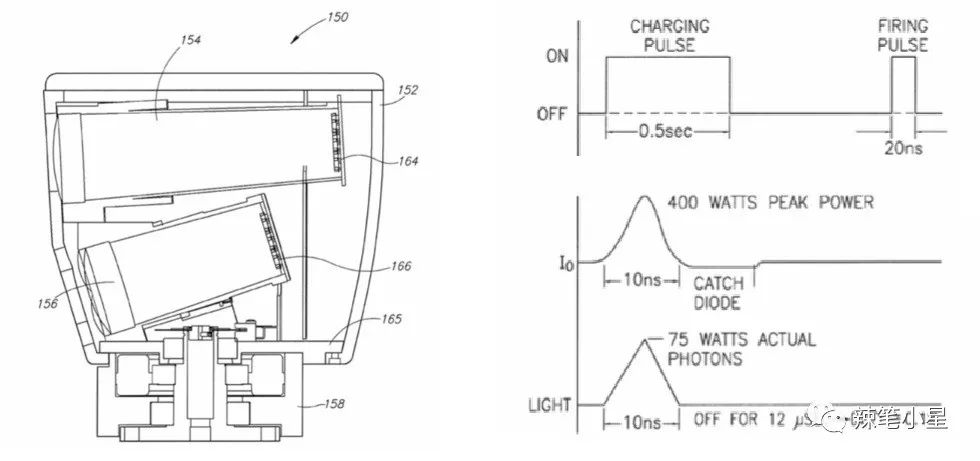
↑Velodyne激光雷达LiDAR基础专利
第一大挑战就是绕不开的Velodyne基础专利。此次专利大战的主角Velodyne可以说是美国政府通过自动驾驶挑战赛一手扶植起来的业界老大。2007年Velodyne申请的基础专利US7969558囊括了几乎所有高精度激光雷达所需的基础技术。其实并不是针对国内的禾赛和速腾聚创,国外的谷歌Waymo和Uber都被拉进了专利之争。而禾赛目前已经在北美是仅次于Velodyne的激光雷达供应商。而速腾聚创则是国内出货量最高的激光雷达企业。可谓树大招风。

↑Velodyne激光雷达LiDAR基础专利细节
该基础专利不仅包括了主流的基于伺服电机机械旋转光学组件,而且包括了之前提到的特殊信号处理原理。通过精确的激光发射时长控制,来将对回波时间的测量转化成单位时间进光量的测量。从而在提高精度的同时降低设计难度。
b. 居高不下的成本
最早由谷歌提出的自动驾驶汽车基于置于车顶的360度机械旋转激光雷达实现。它的性能非常好,但是相应的也具有成本过高(几千美元级别),体积大、外部可见等劣势。
因此激光雷达成本问题亟待解决,固态化成为大势所趋。
激光雷达LIDAR市场应用如何
1. Velodyne激光雷达汽车应用

↑Velodyne激光雷达发展路线
Velodyne激光雷达广泛应用于自动驾驶的测试车型中。最早谷歌提出的自动驾驶汽车就是基于置于车顶的机械旋转激光雷达产品实现的。它其实就是来自Velodyne公司的64波束激光雷达。而这款产品当初价格惊人的超过了7万美金。如图,从左至右分别为Velodyne的64波束、32波束以及16波束激光雷达产品。
2. 法雷奥SCALA激光扫描传感器汽车应用

↑奥迪A8配备的低成本激光扫描传感器
奥迪是目前唯一量产L3级别自动驾驶车型的整车厂。为了应对激光雷达量产的挑战,奥迪找到了一种更小巧的激光扫描传感器方案。全新奥迪A8保险杠处的一个圆弧状传感器是小型化激光扫描传感器。在外形不需旋转的前提下可以达到145度的水平视角,80米远的探测距离。其激光二极管每秒可发射近10万次红外线脉冲,控制系统会根据红外线脉冲的反射情况计算出前方物体的详细轮廓。
激光雷达LIDAR未来发展方向

↑激光雷达LiDAR未来发展方向
未来通过半导体技术代替原来的机械旋转部件和光学组件将是业界主流。在绕开基础专利的同时可以大幅降低激光雷达的成本。其中高性能长距离激光雷达将专注于基于半导体的微机械镜头控制激光发射光束的扫描。而中距离低成本方案则朝向固态Flash激光雷达的方向发展。接收部分为半导体光学探测阵列。通过类似摄像头的接收点整,在采集图像的同时记录目标的距离信息。
综上所述,激光雷达技术正随着自动驾驶的兴起引起广泛关注。但是绕不开的基础专利和居高不下的成本带来诸多挑战仍急需解决。无疑半导体技术将推动激光雷达快速发展。让我们拭目以待吧。
◆
福利时刻
◆

推荐阅读
打破深度学习局限,强化学习、深度森林或是企业AI决策技术的“良药”
自动驾驶行业观察 | 停车不再难,L2到L4的泊车辅助系统技术剖析
Python微信远程控制摄像头-拍摄女朋友坐电脑前聊天时表情
5大必知的图算法,附Python代码实现
阿里云弹性计算负责人蒋林泉:亿级场景驱动的技术自研之路
40 岁身体死亡,11 年后成“硅谷霍金”,他用一块屏幕改变 100 万人!
AI大神如何用区块链解决模型训练痛点, AI+区块链的正确玩法原来是这样…… | 人物志
Docker是啥?容器变革的火花?

相关文章:

解决CSV文件中长数字以科学记数格式保存问题
今天因为需要做数据导入到数据表中,用xlxs文件做好了转化为csv文件,结果一看,傻眼了,全部变为科学记数了,在xlxs设置好的单元格格式为文本,可是转化为csv之后就变为了常规,而且也改变了。源文件…

假设检验怎么做?这次把方法+Python代码一并教给你
(图片付费下载于视觉中国)作者 | Jose Garcia译者 | 张睿毅校对 | 张一豪、林亦霖编辑 | 于腾凯来源 | 数据派THU(ID:DatapiTHU)【导读】本文中,作者给出了假设检验的解读与Python实现的详细的假设检验中的…
C++实现tar包解析
tar(tape archive)是Unix和类Unix系统上文件打包工具,可以将多个文件合并为一个文件,使用tar工具打出来的包称为tar包。一般打包后的文件名后缀为”.tar”,也可以为其它。tar代表未被压缩的tar文件,已被压缩的tar文件则追加压缩文…

HTML5的学习,各个标签的尝试
style标签的使用可以更好的改变各个标题风格 基本标签<p>,标题<h>,这里br是换行。 超链接的使用,属性href。 表格的使用table。 最后就是图片 img,和音频audio插入地址即可。 今天的学习就分享这些,谢谢大家。转载于:https://www…

Android获取内部和SDCard的存储空间
有时我们开Android项目开发时会用到文件存储或上传文件的一些操作,那么我们前提是要获取到该存储设备的大小,以方便于与我们需要操作的文件的大小做比较,如果操作的文件大小小于存储空间,那么就可以继续操作,反之则不能…

排序算法 Java实现
选择排序 核心思想 选择最小元素,与第一个元素交换位置;剩下的元素中选择最小元素,与当前剩余元素的最前边的元素交换位置。 分析 选择排序的比较次数与序列的初始排序无关,比较次数都是N(N-1)/2。 移动次数最多只有n-1次。 因此&…

正则表达式简介及在C++11中的简单使用
正则表达式(regular expression)是计算机科学中的一个概念,又称规则表达式,通常简写为regex、regexp、RE、regexps、regexes、regexen。 正则表达式是一种文本模式。正则表达式是强大、便捷、高效的文本处理工具。正则表达式本身,加上如同一…

经典再读 | NASNet:神经架构搜索网络在图像分类中的表现
(图片付费下载于视觉中国)作者 | Sik-Ho Tsang译者 | Rachel编辑 | Jane出品 | AI科技大本营(ID:rgznai100)【导读】从 AutoML 到 NAS,都是企业和开发者的热门关注技术,以往我们也分享了很多相关…

javascript面向对象技术基础(二)
数组我们已经提到过,对象是无序数据的集合,而数组则是有序数据的集合,数组中的数据(元素)通过索引(从0开始)来访问,数组中的数据可以是任何的数据类型.数组本身仍旧是对象,但是由于数组的很多特性,通常情况下把数组和对象区别开来分别对待(Throughout this book, objects and a…

MediaPipe:Google Research 开源的跨平台多媒体机器学习模型应用框架
作者 | MediaPipe 团队来源 | TensorFlow(ID:tensorflowers)【导读】我爱计算机视觉(aicvml)CV君推荐道:“虽然它是出自Google Research,但不是一个实验品,而是已经应用于谷歌多款产…

机器学习研究的七个迷思
作者 Oscar Chang 总结了机器学习研究中的七大迷思,每个问题都很有趣,也可能是你在研究机器学习的过程中曾经遇到过的“想当然”问题。AI 前线对这篇文章进行了编译,以飨读者。迷思之一:TensorFlow 是张量操作库 它实际上就是一个…
Caffe源码中common文件分析
Caffe源码(caffe version:09868ac , date: 2015.08.15)中的一些重要头文件如caffe.hpp、blob.hpp等或者外部调用Caffe库使用时,一般都会include<caffe/common.hpp>文件,下面分析此文件的内容:1. include的文件:boost中…
编程乐趣:C#彻底删除文件
经常用360的文件粉碎,删除隐私文件貌似还不错的。不过C#也可以实现彻底删除文件。试了下用360文件恢复恢复不了源文件了。代码如下:public class AbsoluteFile{public event EventHandler FinishDeleteFileEvent null;public event EventHandler Finish…

大数据工程师手册:全面系统的掌握必备知识与工具
作者 | Phoebe Wong译者 | 陆离编辑 | Jane出品 | AI科技大本营(ID:rgznai100)前言如何才能成为一名真正的“全栈(full-stack)”数据科学家?需要了解哪些知识?掌握哪些技能?概括来讲…

JSON.stringify()
写在前边 不言而喻,JSON.stringify() 是用来将合法的JSON数据字符串化的!然而在正常的工作中我们用到的只是最基础的功能;今天我们就探索不一样的JSON.stringify()。 基础用法 基本数据类型 JSON.stringify(2) // "2" JSON.stringi…

C++中前置声明介绍
前置声明是指对类、函数、模板或者结构体进行声明,仅仅是声明,不包含相关具体的定义。在很多场合我们可以用前置声明来代替#include语句。类的前置声明只是告诉编译器这是一个类型,但无法告知类型的大小,成员等具体内容。在未提供…

在Java SE中使用Hibernate处理数据
如今,Hibernate正在迅速成为非常流行的(如果不是最流行的)J2EE O/R映射程序/数据集成框架。它为开发人员提供了处理企业中的关系数据库的整洁、简明且强大的工具。但如果外部需要访问这些已被包装在J2EE Web应用程序中的实体又该怎么办&#…

利用OpenCV、Python和Ubidots构建行人计数器程序(附完整代码)
作者 | Jose Garcia译者 | 吴振东校对 | 张一豪、林亦霖,编辑 | 于腾凯来源 | 数据派(ID:datapi)导读:本文将利用OpenCV,Python和Ubidots来编写一个行人计数器程序,并对代码进行了较为详细的讲解…
开源软件License汇总
开源软件英文为Open Source Software,简称OSS,又称开放源代码软件,是一种源代码可以任意获取的计算机软件,这种软件的著作权持有人在软件协议的规定之下保留一部分权利并允许用户学习、修改以及以任何目的向任何人分发该软件。 某…

前深度学习时代CTR预估模型的演化之路:从LR到FFM\n
本文是王喆在 AI 前线 开设的原创技术专栏“深度学习 CTR 预估模型实践”的第二篇文章(以下“深度学习 CTR 预估模型实践”简称“深度 CTR 模型”)。专栏第一篇文章回顾:《深度学习CTR预估模型凭什么成为互联网增长的关键?》。重看…

神器与经典--sp_helpIndex
每每和那些NB的人学习技术的时候,往往都佩服他们对各个知识点都熟捻于心,更佩服的是可以在很短时间找出很多业界大师写的文章和开发的工具,就像机器猫的口袋,让人羡慕嫉妒恨啊!宋沄剑宋桑就是其中之一,打劫其硬盘的念头已计划很久,只待时机成…

评分9.7!这本Python书彻底玩大了?程序员:真香!
「超级星推官/每周分享」是一个围绕程序员生活、学习相关的推荐栏目。CSDN出品,每周发布,暂定5期。关键词:靠谱!优质!本期内容,我们将抽1人送出由我司程序员奉为“超级神作”的《疯狂Python讲义》1本&#…

Caffe源码中caffe.proto文件分析
Caffe源码(caffe version:09868ac , date: 2015.08.15)中有一些重要文件,这里介绍下caffe.proto文件。在src/caffe/proto目录下有一个caffe.proto文件。proto目录下除了caffe.proto文件外,还有caffe.pb.h和caffe.pb.cc两个文件,此两个文件是根…

这套完美的Java环境安装教程,完整,详细,清晰可观,让你一目了然,简单易懂。⊙﹏⊙...
JDK下载与安装教程 2017年06月18日 22:53:16 Danishlyy1995 阅读数:349980版权声明:本文为博主原创文章,未经博主允许不得转载。 https://blog.csdn.net/u012934325/article/details/73441617学习JAVA,必须得安装一下JDK(java dev…

【畅谈百度轻应用】云时代·轻应用·大舞台
云时代轻应用大舞台刘志勇君不见,上下班的地铁上,低头看手机;同事吃饭聊天,低头看手机;甚至朋友聚会,忙里偷闲打个招呼,然后继续低头看手机。正如微博上一个流传甚广的段子:“世界上…

如何画出高级酷炫的神经网络图?优秀程序员都用了这几个工具
(图片付费下载于视觉中国)作者 | 言有三 来源 | 有三AI(ID:yanyousan_ai)【导读】本文我们聊聊如何才能画出炫酷高大上的神经网络图,下面是常用的几种工具。1、NN-SVGNN-SVG 可以非常方便的画出各种类型的…
OpenBLAS简介及在Windows7 VS2013上源码的编译过程
OpenBLAS(Open Basic Linear Algebra Subprograms)是开源的基本线性代数子程序库,是一个优化的高性能多核BLAS库,主要包括矩阵与矩阵、矩阵与向量、向量与向量等操作。它的License是BSD-3-Clause,可以商用,目前最新的发布版本是0.…

技本功丨请带上纸笔刷着看:解读MySQL执行计划的type列和extra列
本萌最近被一则新闻深受鼓舞,西工大硬核“女学神”白雨桐,获6所世界顶级大学博士录取通知书。货真价值的才貌双全,别人家的孩子高考失利与心仪的专业失之交臂,选择了软件工程这门自己完全不懂的专业.即便全部归零,也要…
精美素材分享:16套免费的扁平化图标下载
在这篇文章中你可以看到16套华丽的扁平化图标素材,对于设计师来说非常有价值,能够帮助他们节省大量的时间。这些精美的扁平化图标可用于多种用途,如:GUI 设计,印刷材料,WordPress 主题,演示&…
Caffe源码中math_functions文件分析
Caffe源码(caffe version:09868ac , date: 2015.08.15)中有一些重要文件,这里介绍下math_functions文件。1. include文件:(1)、<glog/logging.h>:GLog库,它是google的一个开源的日志库,其使用可以参考&…